Your present location:Home >> All Products >> ZTZ series tower seed dryer >> ZTZ Series Tower Dryer
  • Name:ZTZ Series Tower Dryer
  • Product ID:cc01
  • Register Date:2015-04-30
  • Views:1030

First, the working principle
After the grain after cleaning by hoist to the grain dryer grain storage segment, the material level automatic control on grain, grain drying machine in the running direction of the hot (cold) mixed flow direction to achieve preheating, drying, tempering, drying and cooling of the entire process, grain discharge using variable speed, you can freely control the output and precipitation rate, to achieve the desired drying effect, and finally sent by the row of grain dryers.
Second, the use
Suitable for grain, corn, rice, soybean, wheat, starch, pharmaceutical, feed, wine, canola and other sectors of grain drying operations.
Main tower structure: the grain storage segment, drying section, tempering section, dryer section, tempering section, cooling section, row food agencies.
Three characteristics
High efficiency, energy saving, safe and reliable; dried product quality uniform, non-polluting, adjustable resistance, small footprint; easy operation, maintenance, transportation; air temperature automatic digital display, level automatic control, building blocks structure, moisture automatic digital display.
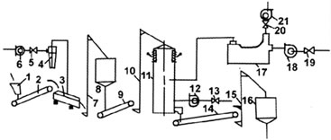
Four, TZH series grain dryer typical flow chart

 

  
1. Hopper 2. sieving conveyor belt 3. 4. 5. precipitator air volume regulator
6. Fan 7. 8. Front silo elevator conveyor belt 10. 9. Hoist
11. 12. A chiller dryer air flow regulator 13. 14. Conveyor belt
15. 16. After the elevator stove silo 17. 19. 18. Heaters the damper 20. The air flow regulator 21. The suction fan

 

V. Technical Data Sheet
Explanation:
1. The table parameters are drying corn prevail;
2. The table given in the capacity, depending on the package may be, coal consumption hours, with the precipitation rate and the actual conditions and volatility;
3. The table in coal is coal;
4. According to user needs, the company can provide users with various models of grain (seed) dryer complete systems products 

ModelTZH-120TZH-150TZH-200TZH-250TZH-300TZH-400TZH-500
Capacity t/d120150200250300400500
Installed capacity70.377.3114.3142.2172.2208.7220.7
Precipitation rate %12-14
Hot air temperature ℃<120 Adjustable
Coal consumption kg/h(Tce)228285342452570684912
Main Tower Dimensions m×m×m4.2*3.1*144.2*3.1.154.2*3.1*174.2*3.1*194.2*3.1*214.2*3.1*244.2*3.1*23
Main tower height m14151719212423


Add.: 98#, Huigong Street, Yinzhou District, Tieling City, Liaoning Province  Tel: 86-24-74565289 74501618  ax: 86-24-74564979

Webpage Copyright © 2012 Tieling Jingda Machinery Manufacturing Co., Ltd.